Autor: Heise.de

Webstandards: Das W3C baut sich um

Das World Wide Web Consortium (W3C) wird im Januar 2023 in eine einheitliche, gemeinnützige Organisation überführt. Bisher ist das Gremium, das Webtechniken standardisiert, ein Zusammenschluss mehrerer Universitäten und Forschungsorganisationen. Mit der zentralen Struktur soll es effizienter agieren beziehungsweise schneller auf technische Entwicklungen reagieren. Einheitliche Normen gegen Fragmentierung Tim Berners-Lee hatte die Gründung des W3C am…

Weiterlesen

Versionsverwaltung Git 2.37: Unerreichbare Objekte und mehr

Noch nicht einmal drei Monate sind vergangen, seitdem die Entwickler und Entwicklerinnen hinter der Versionsverwaltung Git die Version 2.36 veröffentlicht haben – nun stellen sie mit 2.37 bereits das nächste Release ihrer Software vor. Auch diese Version bietet eine ganze Reihe neuer Funktionen und Fehlerkorrekturen, die laut Aussagen des Teams mehr als 75 Mitwirkende beigetragen…

Weiterlesen

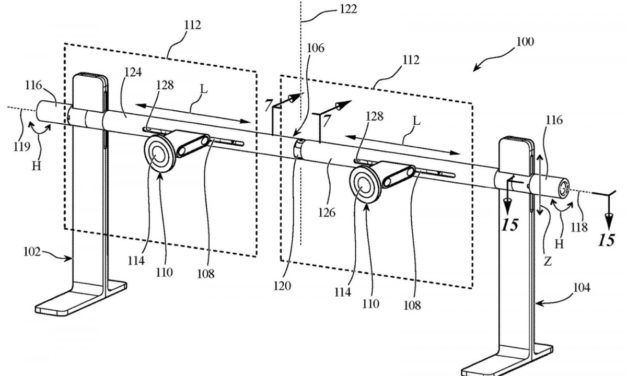
Auf zwei Beinen: Apple erhält Patent für einen „Dual Stand“-Bildschirmständer

Apple ist vom US-Patent- und Markenamt ein Patent für einen neuartigen Display-Ständer zugesprochen worden, der Aufhängungen für zwei Bildschirme bietet. Daran können Nutzer zwei Pro Displays XDR befestigen, die laut Patentbeschreibung perfekt zueinander ausgerechnet wären. Das Pro Display XDR mit 6K-Auflösung ist Apples Premiumprodukt bei den Bildschirmen. Die Besonderheit liegt darin, dass der „Dual Pro…

Weiterlesen

Groupware: Präparierte E-Mails könnten zur Codeausführung in Zimbra führen

Die Groupware Zimbra leidet unter einem Sicherheitsproblem im Entpackprogramm unrar. Der Bug erlaubt es Angreifern, die Sicherheitsprüfungen zu symbolischen Links und relativen Pfaden auszutricksen und ein RAR-Archiv zu erstellen, das Dateien in beliebigen Verzeichnissen auf dem Zielsystem schreibt (CVE-2022-30333, CVSS 7.5, Risiko-Einstufung „hoch“). In Zimbra kommt unrar unter anderem bei der Überprüfung von E-Mail-Anhängen auf…

Weiterlesen

heise-Angebot: Webentwicklung mit Node.js: Das Webinar von Heise

Node.js hat seine Wurzeln in der Web-Entwicklung als klassische HTTP-Backend-Schnittstelle. Das erklärt auch, warum man in diesem Bereich eine so große Zahl von Bibliotheken und Hilfsmitteln findet. Das Heise-Webinar am 17. August widmet sich alltäglichen Problemstellungen von Webentwicklern, wie der Anbindung von Datenbanken oder der Authentifizierung und erklärt, welche Alternativen es zum http-Modul von Node.js…

Weiterlesen